Республика Татарстан,
г. Набережные Челны, БСИ,
ул. Мелиораторная, 15
 
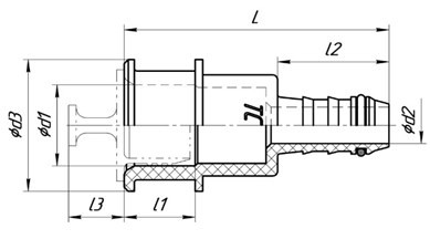
Коннектор прямой (ответное соединение коннектора)

Тип соединения: VOSSSV246

Материал фитинга: РА12

Материал колец: NBR

 

Внутренний диаметр трубки, мм

Присоединительный размер d1, мм

d2, мм

d3, мм

L, мм

l1, мм

l2, мм

l3, мм

Обозначение

9

16

7,2

26

52,3

14

22

11

657-K1609-010